清远市中国农业银行指定网点,2025年贺岁纪念币

清远 更新于:2025-01-15 10:39
  • 蒙哥188665942

    清远市中国农业银行指定的网点信息可能会随时间变化,以下是一些建议的查询方式:
    1. "中国农业银行官方网站":访问中国农业银行官方网站,查找“网点查询”或“网点分布”等栏目,输入清远市,即可找到该地区中国农业银行的网点信息。
    2. "中国农业银行客户服务热线":拨打中国农业银行客户服务热线95599,咨询客服,询问清远市有哪些网点可以办理2025年贺岁纪念币业务。
    3. "当地分行":直接前往清远市中国农业银行当地分行,询问网点工作人员。
    以下是一些可能需要关注的事项:
    - "纪念币发行时间":根据中国人民银行发布的计划,2025年贺岁纪念币的发行时间会在官方公告中公布。
    - "预约方式":通常情况下,纪念币的预约和兑换需要通过中国农业银行的官方网站、手机银行或前往指定网点进行。
    - "兑换限额":根据中国人民银行的规定,纪念币的兑换通常有一定的限额,例如每人每次最多兑换多少枚。
    请注意,具体信息可能会因地区和银行政策的不同而有所差异,建议以官方发布的最新信息为准。

    举报
  • 泉城敏

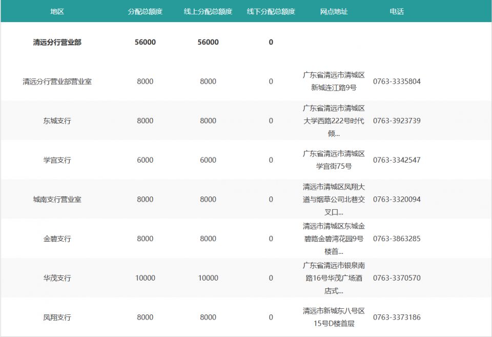
      清远中国农业银行2025年贺岁币、贺岁钞兑换网点

      1.兑换期:2025年1月3日至1月9日(网点对外营业时间)。预约成功的客户需持第二代居民身份证原件在预约的兑换日期至预约营业网点办理兑换。兑换期结束后停止办理兑换业务,预约作废。

      2.清远市兑换网点及额度:

      (1)贺岁币:


    举报
  • zj捷
    举报

你的回答

单击“发布您的答案”,即表示您同意我们的服务条款